按需定制
按需定制工业温控方案和控温设备
-

-

8小时响应
8小时内提供完整的专业对接服务 -

24小时上门
24小时内安排方案工程师上门看厂 -

终身维护
久阳设备在使用内提供完善的售后服务
轴承温升所导致的加工设备变形是一直以来都很难避而不谈的问题,如何减少温升所带来的一系列加工问题是精密加工行业与温控设备厂家一直努力的方向。当下使用冷油机对轴承进行润滑与冷却是精密加工行业中十分有效的方法,今天小编就来为您介绍,精密加工行业中轴承冷却中冷油机的应用。
轴承冷却专用冷油机的作用

精密加工设备
机械加工中,机械的传动、做功、摩擦在良好的润滑情况下仍然会产生发热,如果没有及时地处理这部分产生的多余热量,轴承等热胀冷缩发生形变,对于精密加工设备的加工精度、产品的加工效果、设备的使用寿命等都有相当不好的影响。轴承冷却专用冷油机的设计初衷,即为更好地释放这些余热,阻止温升的情况出现,避免影响轴承正常运动。
冷油机作为加工设备轴承润滑冷却系统中的重要组成部分,其主要作用体现在:冷油机能够在高温环境下,为机械设备在工作时或连续不停机运行的情况下对循环润换油进行有效的冷却控温,通过精准的冷却控温,使得轴承室温始终保持在合适的工作温度范围,有效解决加工设备因轴承升温过快所导致的问题。

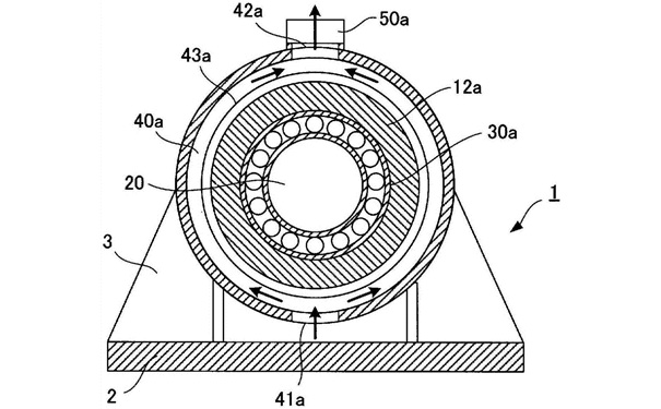
轴承冷却结构示意图
轴承冷却专用油温机的特点
冷油机由制冷系统、油液循环、自动控制系统三部分组成、制冷系统采用进口全封闭制冷压缩机;油液循环系统由油泵级压力控制器、输油管路组成;自动控制系统采用智能化温度控制器加电器自动控制系统,整机具有操作方便,运转安全可靠的优点。
轴承冷却专用冷油机应用案例
佛山机械装备制造客户主营机械零部件加工、印刷专用设备、包装专用设备制造,生产过程中使用的精密磨床、数控机床等加工设备都需要对轴承进行冷却恒温,使用温度在25℃~30℃范围内。根据客户使用的加工设备参数,我们计算出设备轴承所需的冷却量较小,因此设备选型为2HP水冷式冷油机。

轴承冷却专用冷油机设备图片
轴承冷却专用冷油机部分参数如下:
制冷量:5.67KW,4872Kcal/h
电源:3N-380V-50HZ
整机功率:2.02KW
全封闭涡旋式压缩机
循环油泵:0.75KW,流量56L/min,扬程38m
制冷剂:R22
304不锈钢板式冷凝器、板式蒸发器

冷油机是以冷却油液为主要功能的高效液体冷却设备,在精密磨床、数控机床、加工中心等需要降低并保持润滑或液压温度的设备与装置均可使用。咨询冷油机定制方案、报价,欢迎联系久阳机械。

本文收录在久阳机械网站:www.szjiuyang.com,转载请标明出处。

按需定制
按需定制工业温控方案和控温设备

8小时响应
8小时内提供完整的专业对接服务

24小时上门
24小时内安排方案工程师上门看厂

终身维护
久阳设备在使用内提供完善的售后服务